AMD申請小芯片專利:RDNA3或將暴力堆核
發表時間:2021-01-05 09:00:40 人氣:2694
隨著半導體工藝、芯片規模的限制越來越大,傳統的單個大芯片策略已經行不通,小芯片(Chiplet)成為新的方向,AMD無疑是其中的佼佼者,銳龍、線程撕裂者、霄龍三大產品線都在踐行這一原則,并且取得了不俗的效果。現在,AMD要把這一策略延續到GPU顯卡上了。
2020年的最后一天,AMD向美國專利商標局提交了一項新專利,勾勒了未來的GPU小芯片設計。
圖:小芯片(Chiplet),AMD已經玩兒得很溜
AMD首先指出,傳統的多GPU設計存在諸多問題(包括AMD自己的CrossFire),比如GPU編程模型不適合多路GPU,很難在多個GPU之間并行分配負載,多重GPU之間緩存內容同步極為復雜,等等。
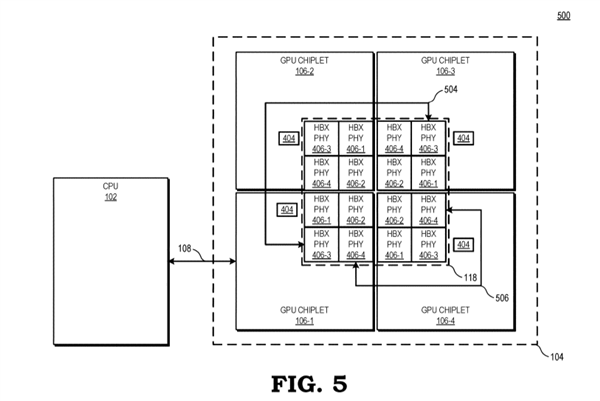
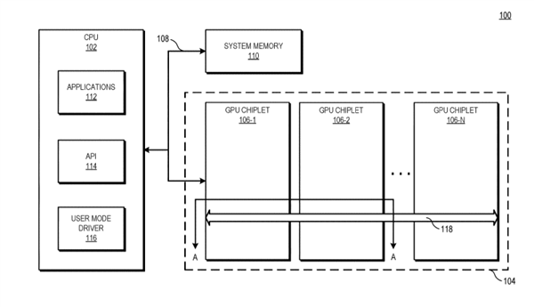
AMD的思路是利用“高帶寬被動交聯”(highbandwidthpassivecrosslink)來解決這些障礙,將第一個GPU小芯片與CPU處理器直接耦合在一起(communicablycoupled),而其他GPU小芯片都通過被動交聯與第一個GPU小芯片耦合,而所有的GPU小芯片都放置在同一個中介層(interposer)之上。
這樣一來,整個GPU陣列就被視為單獨一個SoC,然后劃分成不同功能的子芯片。
傳統的GPU設計中,每個GPU都有自己的末級緩存,但為了避免同步難題,AMD也重新設計了緩存體系,每個GPU依然有自己的末級緩存,但是這些緩存和物理資源耦合在一起,因此所有緩存在所有GPU之間依然是統一的、一致性的。
聽起來很難懂對吧?確實如此,畢竟一般在專利文件中,廠商往往都會故意隱藏具體設計細節,甚至可能存在一些故意使之難以理解、甚至誤導的描述。
AMD沒有透露是否正在實際進行GPU小芯片設計,但早先就有傳聞稱,下一代的RNA3架構就會引入多芯片,這份專利正提供了進一步佐證。
可以預料,RDNA3架構如果真的上小芯片設計,核心規模必然會急劇膨脹,一兩萬個流處理器都是小意思。
AMD也不是唯一有此想法的人。IntelXeHP、XeHPC高性能架構就將采取基于Tile區塊的設計,今年晚些時候問世,直奔高性能計算、數據中心而去。
NVIDIA據說會在Hopper(霍珀)架構上采用MCM多芯封裝設計,而在那之前還有一代“AdaLovelace”(阿達·洛夫萊斯),有望上5nm工藝,并堆到多達18432個流處理器。
相關咨詢
工廠展示


聯系我們
成都子程新輝電子設備有限公司
聯系人:文先生
手機:13183865499
QQ:1977780637
地址:成都市金牛區星輝西路2號附1號(臺誼民生大廈)407號
